Product Summary
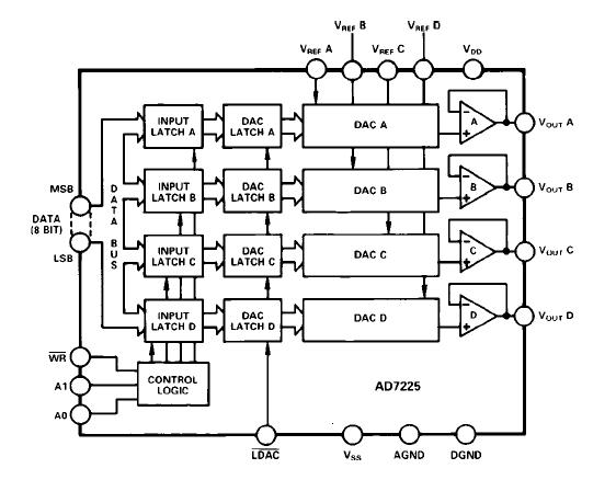
The AD7225KRZ is a Quad 8-bit voltage output digital-toanalog converter, with output buffer amplifiers and interface logic on a single monolithic chip. Each D/A converter has a separate reference input terminal. No external trims are required to achieve full specified performance for the part. The double-buffered interface logic consists of two 8-bit registers per channel–an input register and a DAC register. Control inputs A0 and A1 determine which input register is loaded when WR goes low. Only the data held in the AD7225KRZ registers determines the analog outputs of the converters.
Parametrics
AD7225KRZ absolute maximum ratings: (1)VDD to AGND: -0.3 V to +17 V; (2)VDD to DGND: -0.3 V to +17 V; (3)VDD to VSS: -0.3 V to +24 V; (4)AGND to DGND: -0.3 V to VDD; (5)Digital Input Voltage to DGND: -0.3 V to VDD +0.3 V; (6)VREF to AGND: -0.3 V to VDD +0.3 V; (7)VOUT to AGND2: VSS to VDD; (8)Power Dissipation (Any Package) to +75℃: 500 mW; (9)Derates above 75℃ by: 2.0 mW/℃; (10)Operating Temperature, Commercial (K, L Versions): -40℃ to +85℃; Industrial (B, C Versions): -40℃ to +85℃; (11)Extended (T, U Versions): -55℃ to +125℃; (12)Storage Temperature: -65℃ to +150℃; (13)Lead Temperature (Soldering, 10 secs): +300℃.
Features
AD7225KRZ features: (1)Four 8-Bit DACs with Output Amplifiers; (2)Separate Reference Input for Each DAC; (3)mP Compatible with Double-Buffered Inputs; (4)Simultaneous Update of All Four Outputs; (5)Operates with Single or Dual Supplies; (6)Extended Temperature Range Operation; (7)No User Trims Required; (8)Skinny 24-Pin DIP, SOIC and 28-Terminal Surface Mount Packages.
Diagrams

| Image | Part No | Mfg | Description | ![]() |
Pricing (USD) |
Quantity | ||||||
|---|---|---|---|---|---|---|---|---|---|---|---|---|
![]() |
![]() AD7225KRZ |
![]() |
![]() IC DAC 8BIT QUAD W/AMP 24SOIC |
![]() Data Sheet |
![]()
|
|
||||||
![]() |
![]() AD7225KRZ-REEL |
![]() |
![]() IC DAC 8BIT QUAD W/AMP 24SOIC |
![]() Data Sheet |
![]() Negotiable |
|
||||||
(Hong Kong)









