Product Summary
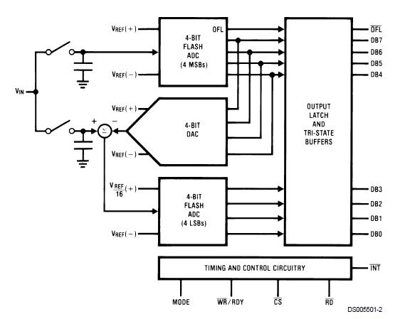
The ADC0820CCN is an 8-Bit high speed μP compatible A/D converter with track/hold function. By using a half-flash conversion technique, the ADC0820CCN offers a 1.5 μs conversion time and dissipates only 75 mW of power. The half-flash technique consists of 32 comparators, a most significant 4-bit ADC and a least significant 4-bit ADC. The input to the ADC0820CCN is tracked and held by the input sampling circuitry eliminating the need for an external sample-and-hold for signals moving at less than 100 mV/μs. For ease of interface to microprocessors, the ADC0820CCN has been designed to appear as a memory location or I/O port without the need for external interfacing logic.
Parametrics
ADC0820CCN absolute maximum ratings: (1)Supply Voltage (VCC): 10V; (2)Logic Control Inputs: -0.2V to VCC +0.2V; (3)Voltage at Other Inputs and Output: -0.2V to VCC +0.2V; (4)Storage Temperature Range: -65℃ to +150℃; (5)Package Dissipation at TA = 25℃: 875 mW; (6)Input Current at Any Pin: 1 mA; (7)Package Input Current: 4 mA; (8)ESD Susceptability: 1200V; (9)Lead Temp. (Soldering, 10 sec.), Dual-In-Line Package (plastic) 260℃; Dual-In-Line Package (ceramic) 300℃; (10)Surface Mount Package, Vapor Phase (60 sec.): 215℃; Infrared (15 sec.): 220℃.
Features
ADC0820CCN features:(1)Built-in track-and-hold function; (2)No missing codes; (3)No external clocking; (4)Single supply - 5VDC; (5)Easy interface to all microprocessors, or operates stand-alone; (6)Latched TRI-STATE?output; (7)Logic inputs and outputs meet both MOS and T2L voltage level specifications; (8)Operates ratiometrically or with any reference value equal to or less than VCC; (9)0V to 5V analog input voltage range with single 5V supply; (10)No zero or full-scale adjust required; (11)Overflow output available for cascading; (12)0.3" standard width 20-pin DIP; (13)20-pin molded chip carrier package; (14)20-pin small outline package; (15)20-pin shrink small outline package (SSOP).
Diagrams

| Image | Part No | Mfg | Description | ![]() |
Pricing (USD) |
Quantity | ||||||||||||
|---|---|---|---|---|---|---|---|---|---|---|---|---|---|---|---|---|---|---|
![]() |
![]() ADC0820CCN |
![]() Maxim Integrated Products |
![]() ADC (A/D Converters) |
![]() Data Sheet |
![]() Negotiable |
|
||||||||||||
![]() |
![]() ADC0820CCN/NOPB |
![]() National Semiconductor (TI) |
![]() ADC (A/D Converters) |
![]() Data Sheet |
![]()
|
|
||||||||||||
![]() |
![]() ADC0820CCN+ |
![]() Maxim Integrated Products |
![]() ADC (A/D Converters) CMOS High-Speed 8 Bit w/Track & Hold |
![]() Data Sheet |
![]()
|
|
||||||||||||
![]() |
![]() ADC0820CCN/PB |
![]() National Semiconductor (TI) |
![]() ADC (A/D Converters) 8-BIT HI-SPD UP COMP A/D |
![]() Data Sheet |
![]()
|
|
||||||||||||
(Hong Kong)











