Product Summary
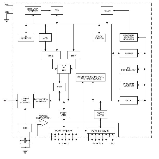
The AT89C4051-12PU is a low-voltage, high-performance CMOS 8-bit microcontroller with 4K bytes of Flash programmable and erasable read-only memory. The device is manufactured using Atmel’s high-density nonvolatile memory technology and is compatible with the industry-standard MCS-51 instruction set. By combining a versatile 8-bit CPU with Flash on a monolithic chip, the Atmel AT89C4051 is a powerful microcontroller which provides a highly-flexible and cost-effective solution to many embedded control applications.
Parametrics
AT89C4051-12PU absolute maximum ratings: (1)Operating Temperature: -55℃ to +125℃; (2)Storage Temperature: -65℃ to +150℃; (3)Voltage on Any Pin with Respect to Ground: -1.0V to +7.0V; (4)Maximum Operating Voltage: 6.6V; (5)DC Output Current: 25.0 mA.
Features
AT89C4051-12PU features: (1)Compatible with MCS 51 Products; (2)4K Bytes of Reprogrammable Flash Memory; (3)Endurance: 1,000 Write/Erase Cycles; (4)2.7V to 6V Operating Range; (5)Fully Static Operation: 0 Hz to 24 MHz; (6)Two-level Program Memory Lock; (7)128 x 8-bit Internal RAM; (8)15 Programmable I/O Lines; (9)Two 16-bit Timer/Counters; (10)Six Interrupt Sources; (11)Programmable Serial UART Channel; (12)Direct LED Drive Outputs; (13)On-chip Analog Comparator; (14)Low-power Idle and Power-down Modes; (15)Brown-out Detection; (16)Power-On Reset (POR); (17)Green (Pb/Halide-free/RoHS Compliant) Packaging.
Diagrams

| Image | Part No | Mfg | Description | ![]() |
Pricing (USD) |
Quantity | ||||||||||||
|---|---|---|---|---|---|---|---|---|---|---|---|---|---|---|---|---|---|---|
![]() |
![]() AT89C4051-12PU |
![]() Atmel |
![]() 8-bit Microcontrollers (MCU) 4K FLASH 2.7 TO 5.5V |
![]() Data Sheet |
![]()
|
|
||||||||||||
| Image | Part No | Mfg | Description | ![]() |
Pricing (USD) |
Quantity | ||||||||||||
![]() |
![]() AT8934 |
![]() TE Connectivity |
![]() General Purpose / Industrial Relays SEALED R RELAY |
![]() Data Sheet |
![]()
|
|
||||||||||||
![]() |
![]() AT8985P |
![]() Other |
![]() |
![]() Data Sheet |
![]() Negotiable |
|
||||||||||||
![]() |
![]() AT8989UP |
![]() Other |
![]() |
![]() Data Sheet |
![]() Negotiable |
|
||||||||||||
![]() |
![]() AT8992-A2-T-1 |
![]() |
![]() IC SWITCH PHY 64-TQFP |
![]() Data Sheet |
![]() Negotiable |
|
||||||||||||
![]() |
![]() AT8992M-A2-T-1 |
![]() |
![]() IC SWITCH PHY 100-MQFP |
![]() Data Sheet |
![]() Negotiable |
|
||||||||||||
![]() |
![]() AT8993-A2-T-1 |
![]() |
![]() IC SWITCH PHY 100-MQFP |
![]() Data Sheet |
![]() Negotiable |
|
||||||||||||
(Hong Kong)










