Product Summary
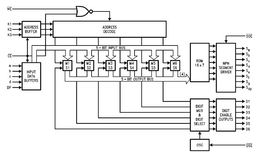
The MM74C912N is a 6-Digit BCD Display Controller/Driver. The MM74C912N is interface elements, with memory, that drive a 6-digit, 8-segment LED display. The MM74C912N receives data information through 5 data inputs A, B, C, D and DP, and digit information through 3 address inputs K1, K2 and K3. The input data is written into the register selected by the address information when CHIP ENABLE, (CE), and WRITE ENABLE, (WE), are LOW and is latched when either CE or WE return HIGH. Data hold time is not required. A self-contained internal oscillator sequentially presents the stored data to a decoder where 4 data bits control the format of the displayed character and 1 bit controls the decimal point. The internal oscillator is controlled by a control input labeled OSCILLATOR ENABLE, (OSE), which is tied LOW in normal operation. A high level at OSE prevents automatic refresh of the display.
Parametrics
MM74C912N absolute maximum ratings: (1)Voltage at Any Pin Except Inputs: -0.3V to VCC +0.3V; (2)Voltage at Any Input: -0.3V to +15V; (3)Operating Temperature Range (TA): -40℃ to +85℃; (4)Storage Temperature Range (TS): -65℃ to +150℃; (5)Power Dissipation (PD): Refer to PD MAX vs TA Graph; (6)Operating VCC Range: 3V to 6V; (7)Absolute Maximum (VCC): 6.5V; (8)Lead Temperature (Soldering, 10 seconds): 260℃.
Features
MM74C912N features: (1)Direct segment drive (100 mA typ.) 3-STATE; (2)6 registers addressed like RAM; (3)Internal oscillator and scanning circuit; (4)Direct base drive to digit transistor (20 mA typ.); (5)Internal segment decoder; (6)TTL compatible inputs.
Diagrams

| Image | Part No | Mfg | Description | ![]() |
Pricing (USD) |
Quantity | ||||
|---|---|---|---|---|---|---|---|---|---|---|
![]() |
![]() MM74C912N |
![]() Fairchild Semiconductor |
![]() LED Display Drivers 6-Dgt BCD Dis Con/Dr |
![]() Data Sheet |
![]() Negotiable |
|
||||
| Image | Part No | Mfg | Description | ![]() |
Pricing (USD) |
Quantity | ||||
![]() |
![]() MM74C00 |
![]() Other |
![]() |
![]() Data Sheet |
![]() Negotiable |
|
||||
![]() |
![]() MM74C00M |
![]() |
![]() IC GATE NAND QUAD 2-INPUT 14SOIC |
![]() Data Sheet |
![]() Negotiable |
|
||||
![]() |
![]() MM74C00MX |
![]() |
![]() IC GATE NAND QUAD 2-INPUT 14SOIC |
![]() Data Sheet |
![]() Negotiable |
|
||||
![]() |
![]() MM74C00N |
![]() |
![]() IC GATE NAND QUAD 2 INPUT 14-DIP |
![]() Data Sheet |
![]() Negotiable |
|
||||
![]() |
![]() MM74C02 |
![]() Other |
![]() |
![]() Data Sheet |
![]() Negotiable |
|
||||
![]() |
![]() MM74C02N |
![]() |
![]() IC GATE NOR QUAD 2 INPUT 14-DIP |
![]() Data Sheet |
![]() Negotiable |
|
||||
(Hong Kong)












