Product Summary
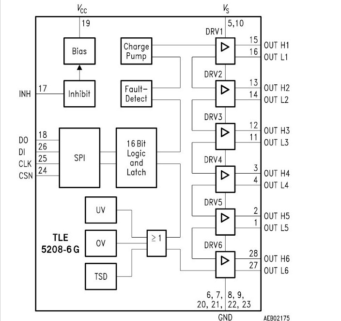
The TLE6208-6G is a fully protected Hex-Half-Bridge-Driver designed specifically for automotive and industrial motion control applications. The part is based on Infineons Smart Power Technology SPT which allows bipolar and CMOS control circuitry in accordance with DMOS power devices existing on the same monolithic circuitry. The TLE6208-6G is freely configurable and can be controlled separately. Therefore all kind of loads can be combined. In motion control up to 5 actuators (DCMotors) can be connected to the 6 halfbridge-outputs (cascade configuration). Operation modes forward (cw), reverse (ccw), brake and high impedance are controlled from a standard SPI-Interface.
Parametrics
TLE6208-6G Absolute maximum ratings: (1)Supply voltage, VS: – 0.3 to 40 V; (2)Supply voltage, VS: – 1V min when t < 0.5 s; IS > – 2 A; (3)Logic supply voltage, VCC: – 0.3 5.5 V 0 V < VS < 40 V; (4)Logic input voltages (DI, CLK, CSN, INH), VI: – 0.3 to 5.5 V when 0 V < VS < 40 V, 0 V < VCC < 5.5 V; (5)Logic output voltage (DO), VDO: – 0.3 to VCC V when 0 V < VS < 40 V, 0 V < VCC < 5.5 V; (6)Junction temperature, Tj: – 40 to 150℃; (7)Storage temperature, Tstg: – 50 to 150℃.
Features
TLE6208-6G Features: (1)Six High-Side and six Low-Side-Drivers; (2)Free configurable as switch, halfbridge or H-bridge; (3)Optimized for DC motor management applications; (4)0.6 A continuous (1 A peak) current per switch; (5)Outputs fully short circuit protected with diagnosis; (6)Overtemperature-Protection with hysteresis and diagnosis; (7)Temperature prewarning; (8)Standard SPI-Interface; (9)in stand-by (Inhibit) mode; (10)Over- and Undervoltage-Lockout; (11)CMOS/TTL compatible inputs with hysteresis; (12)Internal clamp diodes; (13)Enhanced power P-DSO-Package.
Diagrams

| Image | Part No | Mfg | Description | ![]() |
Pricing (USD) |
Quantity | ||||||||||
|---|---|---|---|---|---|---|---|---|---|---|---|---|---|---|---|---|
![]() |
![]() TLE6208-6G |
![]() Infineon Technologies |
![]() Motor / Motion / Ignition Controllers & Drivers Six-fold Half-Bridge Driver |
![]() Data Sheet |
![]()
|
|
||||||||||
| Image | Part No | Mfg | Description | ![]() |
Pricing (USD) |
Quantity | ||||||||||
![]() |
![]() TLE6208-3G |
![]() Infineon Technologies |
![]() Motor / Motion / Ignition Controllers & Drivers Triple-Half-Bridge |
![]() Data Sheet |
![]()
|
|
||||||||||
![]() |
![]() TLE6208-6G |
![]() Infineon Technologies |
![]() Motor / Motion / Ignition Controllers & Drivers Six-fold Half-Bridge Driver |
![]() Data Sheet |
![]()
|
|
||||||||||
![]() |
![]() TLE6209 |
![]() Other |
![]() |
![]() Data Sheet |
![]() Negotiable |
|
||||||||||
![]() |
![]() TLE6209R |
![]() Infineon Technologies |
![]() Motor / Motion / Ignition Controllers & Drivers 7A H-Bridge 150mA DC-MOTORAPPS |
![]() Data Sheet |
![]() Negotiable |
|
||||||||||
![]() |
![]() TLE6210 |
![]() Other |
![]() |
![]() Data Sheet |
![]() Negotiable |
|
||||||||||
![]() |
![]() TLE6211 |
![]() Other |
![]() |
![]() Data Sheet |
![]() Negotiable |
|
||||||||||
(Hong Kong)










