Product Summary
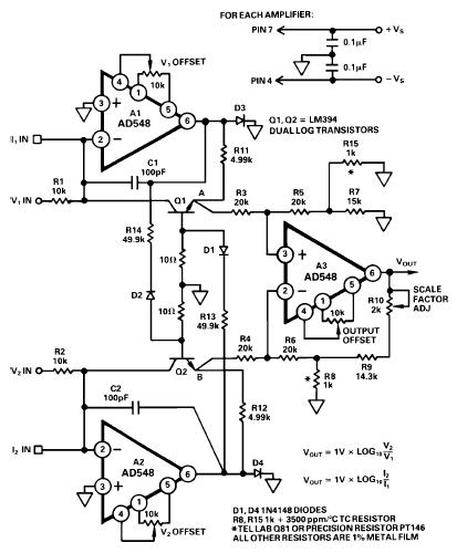
The AD548KNZ is a low power, precision monolithic operational amplifier. The AD548KNZ offers both low bias current (10 pA max, warmed up) and low quiescent current (200 mA max) and is fabricated with ion-implanted FET and laser wafer trimming technologies. Input bias current is guaranteed over the AD548KNZ’s entire common-mode voltage range. The economical J grade has a maximum guaranteed input offset voltage of less than 2 mV and an input offset voltage drift of less than 20 mV/℃. The C grade reduces input offset voltage to less than 0.25 mV and offset voltage drift to less than 2 mV/℃. This level of DC precision is achieved utilizing Analog’s laser wafer drift trimming process. The combination of low quiescent current and low offset voltage drift minimizes changes in input offset voltage due to self-heating effects.
Parametrics
AD548KNZ absolute maximum ratings: (1)Supply Voltage: ±18 V; (2)Internal Power Dissipation: 500 mW; (3)Input Voltage: ±18 V; (4)Output Short Circuit Duration: Indefinite; (5)Differential Input Voltage: +VS and –VS; (6)Storage Temperature Range: -65℃ to +125℃; (7)Operating Temperature Range: 0℃ to +70℃; (8)Lead Temperature Range (Soldering 60 sec): +300℃.
Features
AD548KNZ features: (1)Enhanced Replacement for LF441 and TL061; (2)DC Performance: 200 mA max Quiescent Current; 2 μV p-p Noise, 0.1 Hz to 10 Hz; (3)AC Performance: 1.8 V/μs Slew Rate; 1 MHz Unity Gain Bandwidth; (4)Available in Plastic, Hermetic Cerdip and Hermetic Metal Can Packages and in Chip Form; (5)Available in Tape and Reel in Accordance with EIA-481A Standard; (6)MIL-STD-883B Parts Available; (7)Dual Version Available: AD648; (8)Surface Mount (SOIC) Package Available.
Diagrams

| Image | Part No | Mfg | Description | ![]() |
Pricing (USD) |
Quantity | ||||||||||||||||||||
|---|---|---|---|---|---|---|---|---|---|---|---|---|---|---|---|---|---|---|---|---|---|---|---|---|---|---|
![]() |
![]() AD548KNZ |
![]() |
![]() IC OPAMP GP 1MHZ LP PREC 8DIP |
![]() Data Sheet |
![]()
|
|
||||||||||||||||||||
| Image | Part No | Mfg | Description | ![]() |
Pricing (USD) |
Quantity | ||||||||||||||||||||
![]() |
![]() AD5405 |
![]() Other |
![]() |
![]() Data Sheet |
![]() Negotiable |
|
||||||||||||||||||||
![]() |
![]() AD5405YCP |
![]() Analog Devices Inc |
![]() IC DAC DUAL 12BIT MULT 40-LFCSP |
![]() Data Sheet |
![]()
|
|
||||||||||||||||||||
![]() |
![]() AD5405YCP-REEL |
![]() Analog Devices Inc. |
![]() IC DAC DUAL 12BIT MULT 40-LFCSP |
![]() Data Sheet |
![]() Negotiable |
|
||||||||||||||||||||
![]() |
![]() AD5405YCP-REEL7 |
![]() Analog Devices Inc. |
![]() IC DAC DUAL 12BIT MULT 40-LFCSP |
![]() Data Sheet |
![]() Negotiable |
|
||||||||||||||||||||
![]() |
![]() AD5405YCPZ |
![]() |
![]() IC DAC DUAL 12BIT MULT 40-LFCSP |
![]() Data Sheet |
![]()
|
|
||||||||||||||||||||
![]() |
![]() AD5405YCPZ-REEL |
![]() |
![]() IC DAC DUAL 12BIT MULT 40LFCSP |
![]() Data Sheet |
![]()
|
|
||||||||||||||||||||
(Hong Kong)












