Product Summary
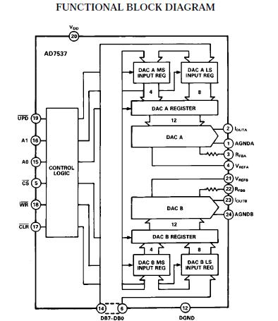
The AD7537JRZ is a LC2MOS Loading Dual 12-Bit DAC. It contains two 12-bit current output DACs on one monolithic chip. A separate reference input is provided for each DAC. The AD7537JRZ saves valuable board space, and the monolithic construction ensures excellent thermal tracking. The applications of the AD7537JRZ are Automatic Test Equipment, Programmable Filters, Audio Applications, Synchro Applications, Process Control.
Parametrics
AD7537JRZ absolute maximum ratings: (1)VDD to DGND: -0.3 V, +17 V; (2)VREFA, VREFB to AGNDA, AGNDB: ±25 V; (3)VRFBA, VRFBB to AGNDA, AGNDB: ±25 V; (4)Digital Input Voltage to DGND: -0.3 V, VDD +0.3 V; (5)IOUTA, IOUTB to DGND: -0.3 V, VDD +0.3 V; (6)AGNDA, AGNDB to DGND: -0.3 V, VDD +0.3 V; (7)Operating Temperature Range: -40℃ to +85℃; (8)Storage Temperature: -65℃ to +150℃; (9)Lead Temperature (Soldering, 10 sec): +300℃.
Features
AD7537JRZ features: (1)Two 12-Bit DACs in One Package; (2)DAC Ladder Resistance Matching: 0.5%; (3)Space Saving Skinny DIP and Surface Mount Packages; (4)4-Quadrant Multiplication; (5)Low Gain Error (1 LSB max Over Temperature); (6)Byte Loading Structure; (7)Fast Interface Timing.
Diagrams

| Image | Part No | Mfg | Description | ![]() |
Pricing (USD) |
Quantity | ||||||
|---|---|---|---|---|---|---|---|---|---|---|---|---|
![]() |
![]() AD7537JRZ |
![]() |
![]() IC DAC 12BIT DUAL MULT 24SOIC |
![]() Data Sheet |
![]()
|
|
||||||
![]() |
![]() AD7537JRZ-REEL |
![]() |
![]() IC DAC 12BIT DUAL MULT 24SOIC |
![]() Data Sheet |
![]()
|
|
||||||
(Hong Kong)









