Product Summary
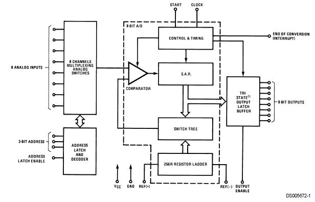
The ADC0809CCV is a monolithic CMOS device with an 8-bit analog-to-digital converter, 8-channel multiplexer and microprocessor compatible control logic. The device uses successive approximation as the conversion technique. The ADC0809CCV features a high impedance chopper stabilized comparator, a 256R voltage divider with analog switch tree and a successive approximation register. It eliminates the need for external zero and full-scale adjustments. The ADC0809CCV offers high speed, high accuracy, minimal temperature dependence, excellent long-term accuracy and repeatability, and consumes minimal power. These features make the ADC0809CCV ideally suited to applications from process and machine control to consumer and automotive applications.
Parametrics
ADC0809CCV absolute maximum ratings: (1)Supply Voltage (VCC): 6.5V; (2)Voltage at Any Pin: Except Control Inputs: -0.3V to (VCC+0.3V); (3)Voltage at Control Inputs(START, OE, CLOCK, ALE, ADD A, ADD B, ADD C): -0.3V to +15V; (4)Storage Temperature Range: -65℃ to +150℃; (5)Package Dissipation at TA = 25℃: 875 mW; (6)Lead Temp. (Soldering, 10 seconds): Dual-In-Line Package (plastic): 260℃, Dual-In-Line Package (ceramic): 300℃; (7)Molded Chip Carrier Package: Vapor Phase (60 seconds): 215℃, Infrared (15 seconds): 220℃; (8)ESD Susceptibility: 400V.
Features
ADC0809CCV features: (1)Easy interface to all microprocessors; (2)Operates ratiometrically or with 5 VDC or analog span adjusted voltage reference; (3)No zero or full-scale adjust required; (4)8-channel multiplexer with address logic; (5)0V to 5V input range with single 5V power supply; (6)Outputs meet TTL voltage level specifications; (7)Standard hermetic or molded 28-pin DIP package; (8)28-pin molded chip carrier package; (9)ADC0809 equivalent to MM74C949-1.
Diagrams

| Image | Part No | Mfg | Description | ![]() |
Pricing (USD) |
Quantity | ||||||||||||
|---|---|---|---|---|---|---|---|---|---|---|---|---|---|---|---|---|---|---|
![]() |
![]() ADC0809CCV |
![]() National Semiconductor (TI) |
![]() ADC (A/D Converters) |
![]() Data Sheet |
![]()
|
|
||||||||||||
![]() |
![]() ADC0809CCV/NOPB |
![]() National Semiconductor (TI) |
![]() ADC (A/D Converters) |
![]() Data Sheet |
![]()
|
|
||||||||||||
![]() |
![]() ADC0809CCVX/NOPB |
![]() National Semiconductor (TI) |
![]() ADC (A/D Converters) |
![]() Data Sheet |
![]()
|
|
||||||||||||
![]() |
![]() ADC0809CCVX |
![]() National Semiconductor (TI) |
![]() ADC (A/D Converters) |
![]() Data Sheet |
![]()
|
|
||||||||||||
(Hong Kong)










