Product Summary
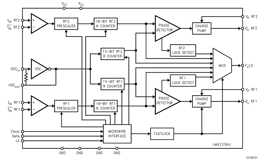
The LMX2336UTM is a high performance frequency synthesizer with integrated dual modulus prescalers. The LMX2336UTM is designed for use in applications requiring two RF phase-locked loops. A 64/65 or a 128/129 prescale ratio can be selected for each RF synthesizer. Using a proprietary digital phase locked loop technique, the LMX2336UTM generates very stable, low noise control signals for the RF voltage controlled oscillators. Both RF synthesizers include a two-level programmable charge pump. The RF1 synthesizer has dedicated Fastlock circuitry. Serial data is transferred to the devices via a three wire interface (Data, LE, Clock). Supply voltages from 2.7V to 5.5V are supported.
Parametrics
LMX2336UTM absolute maximum ratings: (1)VCC to GND: −0.3V to +6.5V; (2)VP RF1 to GND: −0.3V to +6.5V; (3)VP RF2 to GND: −0.3V to +6.5V; (4)Voltage on any pin to GND (VI)VI must be < +6.5V: −0.3V to VCC+0.3V; (5)Storage Temperature Range (TS): −65℃ to +150℃; (6)Lead Temperature (solder 4 s)(TL): +260℃; (7)ICCRF1 Power Supply: 2.0 to 2.5 mA; (8)fIN RF1: 200 to 2000 MHz.
Features
LMX2336UTM features: (1)Ultra Low Current Consumption; (2)Upgrade and Compatible to the LMX2335L and LMX2336L devices; (3)2.7V to 5.5V operation; (4)Selectable Synchronous or Asynchronous PowerdowMode: ICC-PWDN = 1 μA typical at 3.0V; (5)Selectable Dual Modulus Prescaler; (6)Selectable Charge Pump TRI-STATE Mode; (7)Programmable Charge Pump Current Levels RF1 and RF2: 0.95 or 3.8 mA; (8)Selectable Fastlock Mode for the RF1 Synthesizer; (9)Push-Pull Analog Lock Detect Mode; (10)LMX2335U is available i16-PiTSSOP and 16-PiCSP; (11)LMX2336U is available i20-PiTSSOP, 24-PiCSP, and 20-PiUTCSP.
Diagrams

| Image | Part No | Mfg | Description | ![]() |
Pricing (USD) |
Quantity | ||||
|---|---|---|---|---|---|---|---|---|---|---|
![]() |
![]() LMX2336UTM |
![]() |
![]() IC FREQ SYNTHESIZER DUAL 20TSSOP |
![]() Data Sheet |
![]() Negotiable |
|
||||
| Image | Part No | Mfg | Description | ![]() |
Pricing (USD) |
Quantity | ||||
![]() |
![]() LMX2119 |
![]() Other |
![]() |
![]() Data Sheet |
![]() Negotiable |
|
||||
![]() |
![]() LMX2216 |
![]() Other |
![]() |
![]() Data Sheet |
![]() Negotiable |
|
||||
![]() |
![]() LMX2216M |
![]() |
![]() IC AMP/MIXER LO NOISE 16-SOIC |
![]() Data Sheet |
![]() Negotiable |
|
||||
![]() |
![]() LMX2240 |
![]() Other |
![]() |
![]() Data Sheet |
![]() Negotiable |
|
||||
![]() |
![]() LMX2306TM/NOPB |
![]() |
![]() IC FREQ SYNTHESIZER 16-TSSOP |
![]() Data Sheet |
![]() Negotiable |
|
||||
![]() |
![]() LMX2306TMX/NOPB |
![]() |
![]() IC FREQ SYNTH LOW PWR 16-TSSOP |
![]() Data Sheet |
![]() Negotiable |
|
||||
(Hong Kong)











