Product Summary
The TMS320F2811PBKA, member of the TMS320C28x. DSP generation, is a highly integrated, high-performance solution for demanding control applications. The functional blocks and the memory maps are described in subsequent paragraphs.
Parametrics
TMS320F2811PBKA absolute maximum ratings: (1)Supply voltage range, VDD, PLLVCCA, VDDO, and VCCA: - 0.3 V to 4.6 V; (2)Supply voltage range, CVDD: - 0.5 V to 2 V; (3)VCCP range: - 0.3 V to 3.6 V; (4)Input voltage range, VIN: - 0.3 V to 4.6 V; (5)Output voltage range, VO: - 0.3 V to 4.6 V; (6)Output voltage range,VO: - 0.3 V to 4.6 V; (7)Input clamp current, IIK (VIN < 0 or VIN > VCC): ± 20 mA; (8)Output clamp current, IOK (VO < 0 or VO > VCC): ± 20 mA; (9)Operating free-air temperature ranges, TA: A version: - 40℃ to 85℃; S version: - 40℃ to 125℃; (10)Junction temperature range, TJ: - 40℃ to 150℃; (11)Storage temperature range, Tstg: - 65℃ to 150℃.
Features
TMS320F2811PBKA features: (1)150 MHz (6.67-ns Cycle Time); (2)Low-Power (1.8-V Core, 3.3-V I/O) Design; (3)3.3-V Flash Programming Voltage; (4)16 x 16 and 32 x 32 MAC Operations; (5)16 x 16 Dual MAC; (6)Harvard Bus Architecture; (7)Atomic Operations; (8)Fast Interrupt Response and Processing; (9)Unified Memory Programming Model; (10)4M Linear Program Address Reach; (11)4G Linear Data Address Reach; (12)Code-Efficient (in C/C++ and Assembly); (13)TMS320F24x/LF240x Processor Source Code Compatible; (14)Up to 128K x 16 Flash (8 x 4K and 6 x 16K Sectors); (15)2K x 16 OTP ROM; (16)L0 and L1: 2 Blocks of 4K x 16 Single-Access RAM (SARAM); (17)H0: 1 Block of 8K x 16 SARAM; (18)M0 and M1: 2 Blocks of 1K x 16 SARAM; (19)Three External Interrupts; (20)Three 32-Bit CPU-Timers; (21)12-Bit ADC, 16 Channels; (22)Temperature Options: A: -40℃ to 85℃; S: -40℃ to 125℃.
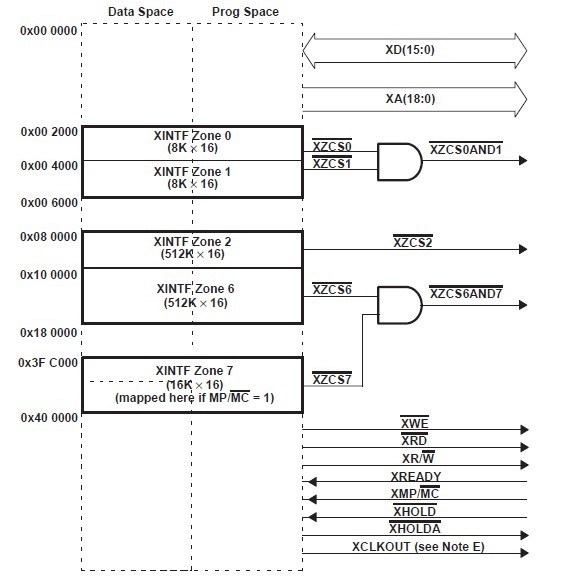
Diagrams

| Image | Part No | Mfg | Description | ![]() |
Pricing (USD) |
Quantity | ||||||||||||
|---|---|---|---|---|---|---|---|---|---|---|---|---|---|---|---|---|---|---|
![]() |
![]() TMS320F2811PBKA |
![]() Texas Instruments |
![]() Digital Signal Processors & Controllers (DSP, DSC) 32-Bit Digital Sig Controller w/Flash |
![]() Data Sheet |
![]()
|
|
||||||||||||
| Image | Part No | Mfg | Description | ![]() |
Pricing (USD) |
Quantity | ||||||||||||
![]() |
![]() TMS3112 |
![]() Other |
![]() |
![]() Data Sheet |
![]() Negotiable |
|
||||||||||||
![]() |
![]() TMS3121 |
![]() Other |
![]() |
![]() Data Sheet |
![]() Negotiable |
|
||||||||||||
![]() |
![]() TMS320 |
![]() Other |
![]() |
![]() Data Sheet |
![]() Negotiable |
|
||||||||||||
![]() |
![]() TMS32010 |
![]() Other |
![]() |
![]() Data Sheet |
![]() Negotiable |
|
||||||||||||
![]() |
![]() TMS320AV7110 |
![]() Other |
![]() |
![]() Data Sheet |
![]() Negotiable |
|
||||||||||||
![]() |
![]() TMS320BC51PQ100 |
![]() Texas Instruments |
![]() Digital Signal Processors & Controllers (DSP, DSC) TMS320C51PQ - 132QFP - 100MHZ/BOOT CODE |
![]() Data Sheet |
![]() Negotiable |
|
||||||||||||
(Hong Kong)










