Product Summary
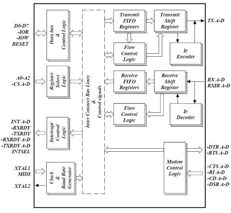
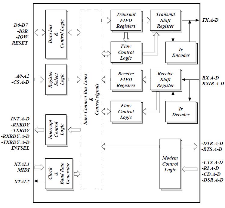
The ST16C654IJ is a universal asynchronous receiver and transmitter (UART) with a dual foot print interface compatible with the ST16C554 and ST68C554. The ST16C654IJ is an enhanced UART with 64 byte FIFO, automatic hardware/software flow control, and data rates up to 1.5Mbps. Onboard status register provides the user with error indications and operational status, modem interface control. System interrupts may be tailored to meet user requirements. An internal loopback capability allows onboard diagnostics. The ST16C654IJ is available in 64 pin TQFP, 68 pin PLCC, and 100 pin QFP packages. The 64 pin package offers the 16 interface mode which is compatible with the industry standard ST16C554.
Parametrics
ST16C654IJ absolute maximum ratings: (1)Supply range: 7 Volts; (2)Voltage at any pin GND: -0.3 V to VCC +0.3 V; (3)Operating temperature: -40℃ to +85℃; (4)Storage temperature: -65℃ to 150℃; (5)Package dissipation: 500 mW.
Features
ST16C654IJ features: (1)Compatibility with the Industry Standard ST16C454/554, ST68C454/554, TL16C554; (2)1.5 Mbps transmit/receive operation (24MHz); (3)64 byte transmit FIFO; (4)64 byte receive FIFO with error flags; (5)Automatic software/hardware flow control; (6)Programmable Xon/Xoff characters; (7)Independent transmit and receive control; (8)Software selectable Baud Rate Generator prescaleable clock rates of 1X, 4X; (9)Four selectable Transmit/Receive FIFO interrupt trigger levels; (10)Standard modem interface or infrared IrDA encoder/ decoder interface; (11)Software flow control turned off optionally by any (Xon) RX character; (12)Independent MIDI interface on 100 pin packages; (13)100 pin packages offer internal register FIFO monitoring and separate IrDA TX outputs; (14)Sleep mode ( 200mA stand-by).
Diagrams

| Image | Part No | Mfg | Description | ![]() |
Pricing (USD) |
Quantity | ||||||||||||
|---|---|---|---|---|---|---|---|---|---|---|---|---|---|---|---|---|---|---|
![]() |
![]() ST16C654IJ68-F |
![]() Exar |
![]() UART Interface IC QUAD UARTW/64BYTE FIFO |
![]() Data Sheet |
![]()
|
|
||||||||||||
| Image | Part No | Mfg | Description | ![]() |
Pricing (USD) |
Quantity | ||||||||||||
![]() |
![]() ST161208SS |
![]() Hammond Manufacturing |
![]() Enclosures, Boxes, & Cases |
![]() Data Sheet |
![]() Negotiable |
|
||||||||||||
![]() |
![]() ST16126LG |
![]() Hammond Manufacturing |
![]() Enclosures, Boxes, & Cases |
![]() Data Sheet |
![]() Negotiable |
|
||||||||||||
![]() |
![]() ST161608SS |
![]() Hammond Manufacturing |
![]() Enclosures, Boxes, & Cases |
![]() Data Sheet |
![]() Negotiable |
|
||||||||||||
![]() |
![]() ST16168LG |
![]() Hammond Manufacturing |
![]() Enclosures, Boxes, & Cases |
![]() Data Sheet |
![]() Negotiable |
|
||||||||||||
![]() |
![]() ST16-19HDS |
![]() Other |
![]() |
![]() Data Sheet |
![]() Negotiable |
|
||||||||||||
![]() |
![]() ST16-19HDSE |
![]() Other |
![]() |
![]() Data Sheet |
![]() Negotiable |
|
||||||||||||
(Hong Kong)










