Product Summary
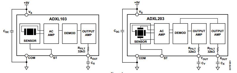
The ADXL203CE is a dual-axis accelerometer. Its applications include Vehicle dynamic controls, Electronic chassis controls, Platform stabilization/leveling, Navigation, Alarms and motion detectors, High accuracy, 2-axis tilt sensing.
Parametrics
ADXL203CE absolute maximum ratings: (1)Vs: -0.3 to 7V; (2)Temperature range, powered: -55 to 125℃; (3)temeperature range, storage: -65 to 150℃.
Features
ADXL203CE features: (1)1 mg resolution at 60 Hz; (2)Low power: 700 μA at VS = 5 V (typical); (3)High zero g bias stability; (4)High sensitivity accuracy; (5)-40°C to +125°C temperature range; (6)X and Y axes aligned to within 0.1° (typical); (7)Bandwidth adjustment with a single capacitor; (8)Single-supply operation.
Diagrams

| Image | Part No | Mfg | Description | ![]() |
Pricing (USD) |
Quantity | ||||||||||||||||
|---|---|---|---|---|---|---|---|---|---|---|---|---|---|---|---|---|---|---|---|---|---|---|
![]() |
![]() ADXL203CE |
![]() |
![]() IC ACCELEROMETER DUAL-AXIS 8CLCC |
![]() Data Sheet |
![]()
|
|
||||||||||||||||
![]() |
![]() ADXL203CE-REEL |
![]() |
![]() IC ACCELEROMETER DUAL-AXIS 8CLCC |
![]() Data Sheet |
![]()
|
|
||||||||||||||||
(Hong Kong)








