Product Summary
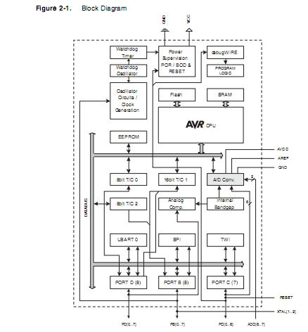
The ATMEGA48PV-10MU is a low-power CMOS 8-bit microcontroller based on the AVR enhanced RISC architecture. By executing powerful instructions in a single clock cycle, the ATMEGA48PV-10MU achieves throughputs approaching 1 MIPS per MHz allowing the system designer to optimize power consumption versus processing speed.
Parametrics
ATMEGA48PV-10MU absolute maximum ratings: (1)Operating Temperature:-55℃ to +125℃; (2)Storage Temperature:-65℃ to +150℃; (3)Voltage on any Pin except RESET with respect to Ground:-0.5V to VCC+0.5V; (4)Voltage on RESET with respect to Ground:-0.5V to +13.0V; (5)Maximum Operating Voltage:6.0V; (6)DC Current per I/O Pin:40.0 mA; (7)DC Current VCC and GND Pins:200.0 mA.
Features
ATMEGA48PV-10MU features: (1)131 Powerful Instructions:Most Single Clock Cycle Execution; (2)32 * 8 General Purpose Working Registers; (3)Fully Static Operation; (4)Up to 20 MIPS Throughput at 20 MHz; (5)On-chip 2-cycle Multiplier; (6)4/8/16K Bytes of In-System Self-programmable Flash program memory; (7)256/512/512 Bytes EEPROM; (8)512/1K/1K Bytes Internal SRAM; (9)Write/Erase cyles: 10,000 Flash/100,000 EEPROM; (10)Data retention: 20 years at 85℃/100 years at 25℃; (11)Optional Boot Code Section with Independent Lock Bits; (12)Two 8-bit Timer/Counters with Separate Prescaler and Compare Mode; (13)One 16-bit Timer/Counter with Separate Prescaler, Compare Mode, and Capture Mode; (14)Real Time Counter with Separate Oscillator; (15)Six PWM Channels; (16)8-channel 10-bit ADC in TQFP and QFN/MLF package; (17)6-channel 10-bit ADC in PDIP Package; (18)Programmable Serial USART; (19)Master/Slave SPI Serial Interface; (20)Byte-oriented 2-wire Serial Interface (Philips I2C compatible); (21)Programmable Watchdog Timer with Separate On-chip Oscillator; (22)On-chip Analog Comparator; (23)Interrupt and Wake-up on Pin Change; (24)DebugWIRE On-Chip Debug System; (25)Power-on Reset and Programmable Brown-out Detection; (26)Internal Calibrated Oscillator; (27)External and Internal Interrupt Sources; (28)Five Sleep Modes: Idle, ADC Noise Reduction, Power-save, Power-down, and Standby.
Diagrams

| Image | Part No | Mfg | Description | ![]() |
Pricing (USD) |
Quantity | ||||||||||||
|---|---|---|---|---|---|---|---|---|---|---|---|---|---|---|---|---|---|---|
![]() |
![]() ATMEGA48PV-10MU |
![]() Atmel |
![]() 8-bit Microcontrollers (MCU) AVR 4K FLASH 256B EE 10MHZ TEMP GRN 1.8V |
![]() Data Sheet |
![]()
|
|
||||||||||||
![]() |
![]() ATMEGA48PV-10MUR |
![]() Atmel |
![]() 8-bit Microcontrollers (MCU) AVR 4K FLSH 256B EE 512B 5V 10MHz 1.8V |
![]() Data Sheet |
![]()
|
|
||||||||||||
(Hong Kong)










