Product Summary
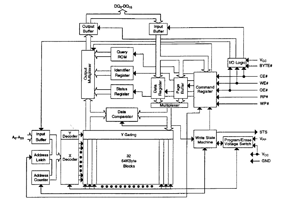
The LH28F160S5HT-L70 is a 16M (2MB × 8/1MB × 16) flash memory. The LH28F160S5HT-L70 flash memory with smart 5 technology is a high density, low cast, nonvolatile, read/wriite storage solution for a wide range of applications. Its symmetrically blocked architechture, flexible voltage and extended cycling provide for highly flexible component suitable for resident flash arrays, SIMMs and memory cards. The LH28F160S5HT-L70 enhanced suspend capabilities provide for an ideal solution for code + data storage applications.
Parametrics
LH28F160S5HT-L70 absolute maximum ratings: (1)Operating temperature, block lock bit configuration: -40 to 85℃; (2)Temperature under bias: -40 to 85℃; (3)Storage temperature: -65 to +125℃; (4)Voltage on any pin: -0.5 to Vcc +0.5V; (5)Vcc supply voltage: -0.2 to 7.0V; (6)Output short circuit current: 100mA.
Features
LH28F160S5HT-L70 features: (1)Smart 5 technology; (2)Common flash interface; (3)Scalable command set; (4)High speed write performance; (5)High speed read performance; (6)Operating temperature; (7)Enhanced automated suspend options; (8)High density symmetrically blocked architecture; (9)SRAM compatible write interface; (10)User configurable x8 or x16 operation.
Diagrams

| Image | Part No | Mfg | Description | ![]() |
Pricing (USD) |
Quantity | ||||
|---|---|---|---|---|---|---|---|---|---|---|
![]() |
![]() LH28F160S5HT-L70 |
![]() |
![]() IC FLASH 16MBIT 70NS 56TSOP |
![]() Data Sheet |
![]() Negotiable |
|
||||
| Image | Part No | Mfg | Description | ![]() |
Pricing (USD) |
Quantity | ||||
![]() |
![]() LH28F004SU-LC |
![]() Other |
![]() |
![]() Data Sheet |
![]() Negotiable |
|
||||
![]() |
![]() LH28F004SU-NC |
![]() Other |
![]() |
![]() Data Sheet |
![]() Negotiable |
|
||||
![]() |
![]() LH28F004SU-Z1 |
![]() Other |
![]() |
![]() Data Sheet |
![]() Negotiable |
|
||||
![]() |
![]() LH28F004SU-Z9 |
![]() Other |
![]() |
![]() Data Sheet |
![]() Negotiable |
|
||||
![]() |
![]() LH28F008SA |
![]() Other |
![]() |
![]() Data Sheet |
![]() Negotiable |
|
||||
![]() |
![]() LH28F008SAT-85 |
![]() |
![]() IC FLASH 8MBIT 85NS 40TSOP |
![]() Data Sheet |
![]() Negotiable |
|
||||
(Hong Kong)










