Product Summary
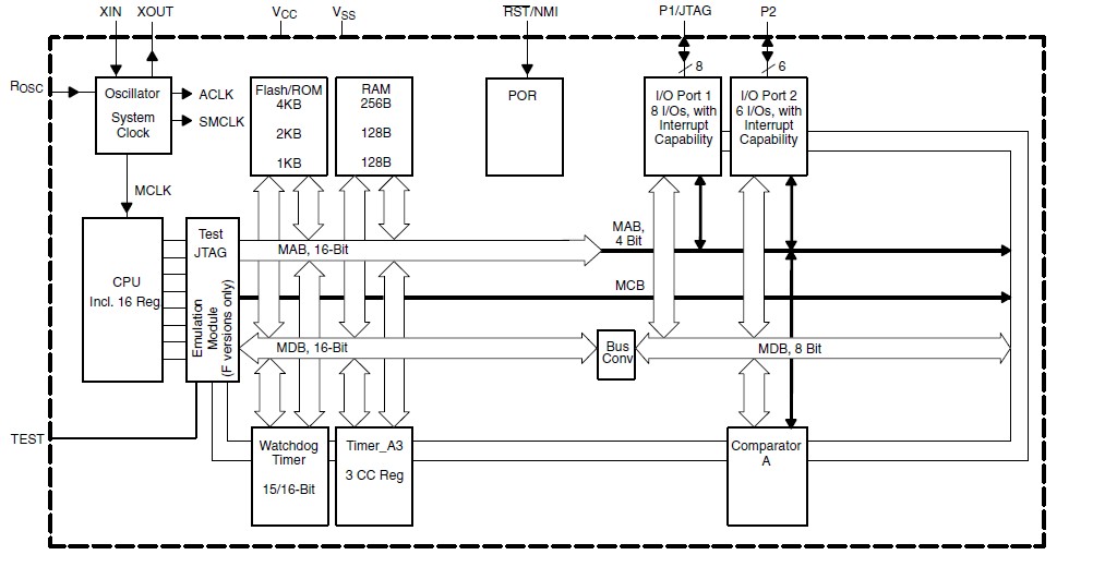
The MSP430F1121AIPWR is a mixed signal microcontroller. The architecture, combined with five low-power modes is optimized to achieve extended battery life in portable measurement applications. The MSP430F1121AIPWR features a powerful 16-bit RISC CPU, 16-bit registers, and constant generators that contribute to maximum code efficiency. The digitally controlled oscillator (DCO) allows wake-up from low-power modes to active mode in less than 6 μs. The MSP430F1121AIPWR is an ultralow-power mixed signal microcontroller with a built-in 16-bit timer, versatile analog comparator and fourteen I/O pins. Typical applications include sensor systems that capture analog signals, convert them to digital values, and then process the data for display or for transmission to a host system. Stand alone radio frequency (RF) sensor front end is another area of application. The MSP430F1121AIPWR I/O port inputs provide single slope A/D conversion capability on resistive sensors.
Parametrics
MSP430F1121AIPWR absolute maximum ratings: (1)Voltage applied at VCC to VSS: -0.3 V to 4.1 V; (2)Voltage applied to any pin (see Note): -0.3 V to VCC+0.3 V; (3)Diode current at any device terminal: ±2 mA; (4)Storage temperature, Tstg (unprogrammed device): -55℃ to 150℃; (5)Storage temperature, Tstg (programmed device): -40℃ to 85℃.
Features
MSP430F1121AIPWR features: (1)Low Supply Voltage Range 1.8 V to 3.6 V; (2)Wake Up From Standby Mode in Less Than 6 us; (3)16 Bit Timer A With Three Capture/Compare Registers; (4)On Chip Comparator for Analog Signal Compare Function or Slope Analog to Digital (A/D)Conversion.
Diagrams

| Image | Part No | Mfg | Description | ![]() |
Pricing (USD) |
Quantity | ||||||||||||
|---|---|---|---|---|---|---|---|---|---|---|---|---|---|---|---|---|---|---|
![]() |
![]() MSP430F1121AIPWR |
![]() Texas Instruments |
![]() 16-bit Microcontrollers (MCU) 4kB Flash 256B RAM Comparator |
![]() Data Sheet |
![]()
|
|
||||||||||||
| Image | Part No | Mfg | Description | ![]() |
Pricing (USD) |
Quantity | ||||||||||||
![]() |
![]() MSP4120 |
![]() Other |
![]() |
![]() Data Sheet |
![]() Negotiable |
|
||||||||||||
![]() |
![]() MSP4200 |
![]() Other |
![]() |
![]() Data Sheet |
![]() Negotiable |
|
||||||||||||
![]() |
![]() MSP430×11× |
![]() Other |
![]() |
![]() Data Sheet |
![]() Negotiable |
|
||||||||||||
![]() |
![]() MSP430×11×2 |
![]() Other |
![]() |
![]() Data Sheet |
![]() Negotiable |
|
||||||||||||
![]() |
![]() MSP430×12×2 |
![]() Other |
![]() |
![]() Data Sheet |
![]() Negotiable |
|
||||||||||||
![]() |
![]() MSP430×21×1 |
![]() Other |
![]() |
![]() Data Sheet |
![]() Negotiable |
|
||||||||||||
(Hong Kong)










