Product Summary
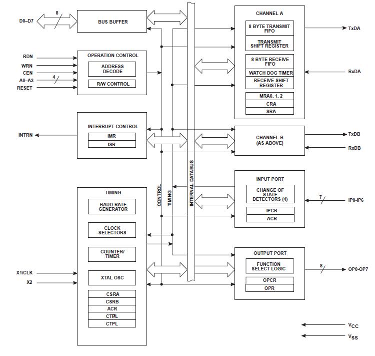
The SC26C92C1B is a dual universal asynchronous receiver. Its configuration on power up is that of the 2692. Its differences from the 2692 are: 8 character receiver, 8 character transmit FIFOs, watch dog timer for each receiver, mode register 0 is added, extended baud rate and overall faster speeds, programmable receiver and transmitter interrupts. The SC26C92C1B is a single-chip CMOS-LSI communications device that provides two full-duplex asynchronous receiver/transmitter channels in a single package. The SC26C92C1B interfaces directly with microprocessors and may be used in a polled or interrupt driven system and provides modem and DMA interface.
Parametrics
SC26C92C1B absolute maximum ratings: (1)Storage temperature range, TSTG: -65 to +150℃; (2)Voltage from VCC to GND, VCC: -0.5 to +7.0 V; (3)Voltage from any pin to GND, VS: -0.5 to VCC +0.5 V; (4)Package power dissipation (DIP40), PD: 2.8 W; (5)Package power dissipation (PLCC44), PD: 2.4 W; (6)Package power dissipation (PQFP44), PD: 1.78 W; (7)Derating factor above 25℃ (PDIP40) 22 mW/℃; (8)Derating factor above 25℃(PLCC44) 19 mW/℃; (9)Derating factor above 25℃ (PQFP44) 14 mW/℃.
Features
SC26C92C1B features: (1)Dual full-duplex independent asynchronous receiver/transmitters; (2)8 character FIFOs for each receiver and transmitter; (3)Programmable data format; (4)Programmable data format; (5)Programmable baud rate for each receiver and transmitter selectable; (6)Parity, framing, and overrun error detection; (7)False start bit detection; (8)Line break detection and generation; (9)Programmable channel mode; (10)Multi-function 7-bit input port; (11)Multi-function 8-bit output port; (12)Versatile interrupt system; (13)Maximum data transfer rates: 1X – 1Mb/sec, 16X – 1Mb/sec; (14)Automatic wake-up mode for multidrop applications; (15)Start-end break interrupt/status; (16)Detects break which originates in the middle of a character; (17)On-chip crystal oscillator; (18)Power down mode; (19)Receiver timeout mode; (20)Single +5V power supply; (21)Powers up to emulate SCC2692.
Diagrams

| Image | Part No | Mfg | Description | ![]() |
Pricing (USD) |
Quantity | ||||||||||||
|---|---|---|---|---|---|---|---|---|---|---|---|---|---|---|---|---|---|---|
![]() |
![]() SC26C92C1B |
![]() NXP Semiconductors |
![]() UART Interface IC 5V 2CH UART COM TEMP |
![]() Data Sheet |
![]() Negotiable |
|
||||||||||||
![]() |
![]() SC26C92C1B,528 |
![]() NXP Semiconductors |
![]() UART Interface IC 5V 2CH UART COM TEMP |
![]() Data Sheet |
![]()
|
|
||||||||||||
![]() |
![]() SC26C92C1B,551 |
![]() NXP Semiconductors |
![]() UART Interface IC 5V 2CH UART COM TEMP |
![]() Data Sheet |
![]()
|
|
||||||||||||
![]() |
![]() SC26C92C1B,557 |
![]() NXP Semiconductors |
![]() UART Interface IC 5V 2CH UART COM TEMP |
![]() Data Sheet |
![]()
|
|
||||||||||||
![]() |
![]() SC26C92C1B-T |
![]() NXP Semiconductors |
![]() UART Interface IC 5V 2CH UART COM TEMP |
![]() Data Sheet |
![]() Negotiable |
|
||||||||||||
(Hong Kong)









