Product Summary
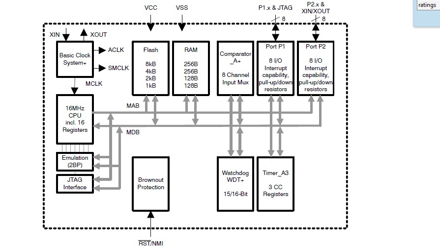
The MSP430F2131IDW is a mixed signal microcontroller. The architecture, combined with five low-power modes, is optimized to achieve extended battery life in portablemeasurement applications. The MSP430F2131IDW features a powerful 16-bit RISC CPU, 16-bit registers, and constant generators that contribute to maximum code efficiency.The digitally controlled oscillator (DCO) allows wake-up from low-power modes to active mode in less than 1μs. The MSP430F2131IDW is an ultralow-power mixed signal microcontroller with a built-in 16-bit timer, versatile analog comparator, and sixteen I/O pins. Typical applications include sensor systems that capture analog signals, convert themto digital values, and then process the data for display or for transmission to a host system. Stand-alone RF sensor front end is another area of application. The analog comparator provides slope A/D conversion capability.
Parametrics
MSP430F2131IDW absolute maximum ratings: (1)Voltage applied at VCC to VSS: -0.3 V to 4.1 V; (2)Voltage applied to any pin (see Note): -0.3 V to VCC + 0.3 V; (3)Diode current at any device terminal: ±2 mA; (4)Storage temperature, Tstg (unprogrammed device): -55℃ to 150℃; (5)Storage temperature, Tstg (programmed device): -40℃ to 85℃.
Features
MSP430F2131IDW features: (1)Ultrafast Wake Up From Standby Mode in less than 1 us; (2)16 Bit RISC Architecture, 62.5 ns Instruction Cycle Time; (3)16 Bit Timer A With Three Capture/Compare Registers; (4)On Chip Comparator for Analog Signal Compare Function or Slope A/D Conversion; (5)Brownout Detector.
Diagrams

| Image | Part No | Mfg | Description | ![]() |
Pricing (USD) |
Quantity | ||||||||||||
|---|---|---|---|---|---|---|---|---|---|---|---|---|---|---|---|---|---|---|
![]() |
![]() MSP430F2131IDW |
![]() Texas Instruments |
![]() 16-bit Microcontrollers (MCU) 16-Bit Ult-Lo-Pwr 8kB Flash 256B RAM |
![]() Data Sheet |
![]()
|
|
||||||||||||
![]() |
![]() MSP430F2131IDWR |
![]() Texas Instruments |
![]() 16-bit Microcontrollers (MCU) 16-Bit Ult-Lo-Pwr 8kB Flash 256B RAM |
![]() Data Sheet |
![]()
|
|
||||||||||||
(Hong Kong)









